확 바뀌는 갤럭시Z폴드5, 플립5? 갤럭시S23 울트라 살까 말까
- 스마트폰/뉴스(News)
- 2023. 1. 16. 18:23
갤럭시S23 시리즈 출시가 얼마 남지 않았습니다. 2월 2일 한국 시간 새벽 3시경에 언팩 행사가 진행이 되는데 벌써부터 구매를 하기 위해서 준비하고 계신분들도 많을 것 같습니다. 저 역시 기다리는 구매자들 중에 한명 입니다. 저는 S펜이 탑재된 갤럭시S23 울트라 모델을 구매하려고 대기중입니다.

그런데 요즘 올 하반기쯤에 등장하는 갤럭시Z폴드5에 대한 다양한 루머들이 나오면서 마음이 흔들리고 있습니다.
사실 아직 폴드 시리즈를 구매 하기에 이르다고 생각하는 사람중에 하나인데 폴드5 또는 폴드6 쯤에 폴드로 넘어 가려고 생각을 하고 있습니다. 그 이유는 아직 폴드의 단점들이 명백히 보이는 상황이라 그런 단점들이 해결되는 시점에 진입을 생각하고 있었습니다.
가격이 200만원이 넘다보니 100만원대 중반대 하는 갤럭시S 울트라 시리즈와는 접근하는 마음 자세가 또 틀리더군요.
그래서 좀 더 신중하게 바라보고 있는데 요즘 나오는 Z폴드5 루머를 접하니 생각보다 더 빠르게 폴드의 단점이 해결될 조짐이 보이는 것 같습니다.
주름 개선, 새로운 물방울 경첩
제가 폴드, 플립 시리즈를 아직 눈여겨 보지 않는 것 중에 가장 큰 이유는 가운데 생기는 주름 입니다. 사용하다 보면 익숙해져서 크게 신경을 쓰지 않을 수 있지만 전 아직 주름이 신경이 쓰여서 바형 스타일에서 넘어갈 생각을 하지 않고 있습니다.
폴드1이 나오고 4세대가 나오기 까지 주름의 강도가 조금씩 약해지고 있긴 하지만 여전히 주름은 크게 해결이 안된 상태 입니다.
그래서 뒤늦게 폴더블 시장에 뛰어든 중국 업체들이 폴드 신모델을 출시 할때 가장 앞세우는 부분이 주름의 강도 입니다.

Z폴드 시리즈 대비 주름을 많이 줄였다는 것을 포인트로 마케팅을 펼칠 정도로 소비자들은 주름에 예민한 편입니다.
저는 폴드6가 나오는 시점에 획기적으로 주름이 줄어들지 않을까 하는 예측을 하고 있었습니다.
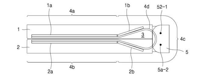
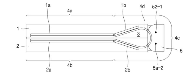
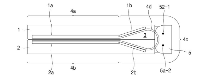
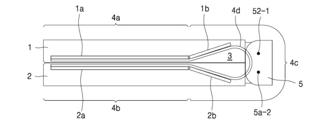
해외 외신을 보니 Z폴드5에서는 새로운 물방울 모양의 경첩구조를 사용할 것으로 예상하고 있습니다.
물방울 모양의 경첩구조를 적용하게 되면 폴더블 스마트폰이 접힐 때 2개의 디스플레이 사이에 틈이 없이 완전히 평평하게 접을 수 있다는 것을 의미한다고 볼 수 있습니다.
제가 폴드, 플립 제품을 구매할때 신경 쓰이게 하는 부분중에 주름도 있지만, 또 다른 것은 2개의 디스플레이가 밀착이 되는 것이 아니라 U자로 벌어지며 틈이 생긴다는 것 입니다.
폴드4까지 이 부분은 변함이 없는데 5에서는 과연 변경이 될까요?
그렇게 되면 외형상 보기에도 좋을 뿐 아니라 가운데 주름 현상도 개선될 것으로 보고 있습니다. 2개의 문제만 해결이 되도 폴드 뿐만 아니라 플립이 가지는 치명적인 단점이 2개가 사라지기 때문에 큰 인기를 끌 수 있습니다.

물방울 모양의 경첩 구조는 중국 회사인 오포(OPPO)에서 출시한 '파인드 N' 시리즈에 이미 적용되었습니다.


사진을 보시면 물방울 모양의 경첩구조를 사용한 오포 제품이 확실히 중간에 있는 주름이 많이 개선이 되었다는 것을 알 수 있습니다.
실제 제품을 본적은 없지만 정말 사진에서 보는 이 정도의 차이를 보여준다면 주름에 대한 거부감은 많이 사라질 것으로 보입니다.

그리고 중요한 것은 접었을때 역시 2개의 디스플레이가 밀착이 되는 걸 볼 수 있습니다.

접었을때도 물방울 모양 경첩과 Z폴드4에 사용하는 경첩의 다름을 한눈에 알 수 있습니다. 폴드 같은 경우 완전히 밀착이 되지 않고 가운데가 뜨는 것을 알 수 있습니다.
저는 폴드를 볼때마다 완전히 밀착되지 않고 가운데가 비는 부분이 늘 의문이었는데 그런 결점(?)들이 과연 폴드5 에서는 해결이 될까요?
중국 회사인 오포도 작년에 물방울 모양의 경첩이 탑재된 파인드N을 출시한 상황이기 때문에 기술적인 부분에서는 큰 문제가 없을 것으로 보입니다. 다만 중국 업체를 따라가는 모양세가 되었기에 이 부분은 아쉽네요.

아무튼 삼성은 삼성은 지난 2016년 물방울 힌지 특허를 출원한 자체 개발한 물방울 힌지 기술을 갤럭시Z 폴드5에 적용할 계획이라고 합니다. 중국 업체 보다 더 고도화된 기술을 탑재 한다면 주름과 경첩에 있어서 상당히 큰 변화를 예상할 수 있습니다.
그렇게 되면 Z폴드5 뿐만 아니라 Z플립5 역시 큰 단점이 사라지기에 더 큰 경쟁력을 갖추게 될 것 같습니다. 게다가 중국 스마트폰업체들과 달리 방수 기능도 폴더블폰에서 지원하는 것도 강점 입니다.
S펜 탑재
폴드4 까지는 분리형으로 나온 S펜이 폴드5에서는 지금의 갤럭시S22 울트라 처럼 본체안에 내장되서 나올 수 있다는 루머가 나오고 있습니다.

베트남 매체 더 픽셀 등 외신에 따르면 갤럭시Z 폴드5는 S펜 슬롯을 탑재하며, 이로 인해 기기 두께가 전작(6.3mm)보다 다소 두꺼운 6.5mm로, 무게는 전작 263g에서 275g으로 늘어날 것으로 예상하고 있다고 합니다.

하지만 S펜 탑재는 호불호가 갈릴 것 같네요. 탑재하게 되면 크기와 두께가 커지고 가격도 그 만큼 높아지기 때문입니다.
하지만 새로운 경첩을 탑재하면 두께와 무게를 줄일 수 있다고 하니 이런 상황에서 S펜을 탑재 한다면 단점이 어느정도 상쇄되지 않을까 싶네요.
갤럭시Z폴드5 살까 말까 고민하고 있었는데 요즘 나오는 뉴스를 보니 갤럭시S23 울트라를 패스하고 폴드5를 기다리는게 맞지 않을까 하는 생각도 듭니다.
하지만 갤럭시S23 울트라 역시 디자인은 크게 달라지지 않지만 카메라, AP 등 여러 부분에서 많은 개선이 이루어질 것으로 보이기 때문에 좀 더 고민을 해야 할 것 같습니다.
하지만 저는 갤S23 울트라 사용 하다가 폴드5 나올때 중고보상판매로 처분하고 폴드5로 넘어가지 않을까 싶습니다. 만약 지금 흘러 나오는 루머가 맞다면 말이죠.
갤럭시S23 언팩 초대장 3가지 비밀, 역대급 카메라 성능 보여줄까?
삼성전자 플래그십 스마트폰 갤럭시S23 시리즈의 발표 행사를 오는 2월1일(현지시간)로 확정지으며 시장의 관심이 커지고 있습니다. 미국 캘리포니아에서 3년만에 오프라인 언팩으로 열린다고
www.khaiyang.com
파트너스 활동을 통해 일정액의 수수료를 제공받을 수 있음